Всё об автозвуке

Вернуться   Всё об автозвуке > Рыночные отношения > Услуги > Коммерческие инсталляции

Важная информация

Коммерческие инсталляции Инсталляции, выполненные на коммерческой основе. Похвастаться, предложить свои услуги...

Закрытая тема
 
Опции темы Опции просмотра
Старый 17.12.2011, 17:10   #41
Директор Луны
Ушел в мир иной от нас...
 
Аватар для Директор Луны
 
Регистрация: 06.04.2008
Адрес: EMMA Ukraine
Возраст: 60
Сообщений: 9,976
Вы сказали Спасибо: 43
Поблагодарили 423 раз(а) в 130 сообщениях
Репутация: 1086
По умолчанию Re: "Незнайкины" поделки. Не в порядке хронологии.

Панель управления процессором.
Миниатюры
Нажмите на изображение для увеличения
Название: DSC02367.jpg
Просмотров: 1692
Размер:	549.5 Кб
ID:	13118   Нажмите на изображение для увеличения
Название: IMG_7507.jpg
Просмотров: 1720
Размер:	525.4 Кб
ID:	13119  

Нажмите на изображение для увеличения
Название: IMG_7503.jpg
Просмотров: 1757
Размер:	514.6 Кб
ID:	13120   Нажмите на изображение для увеличения
Название: IMG_7496.jpg
Просмотров: 1761
Размер:	514.5 Кб
ID:	13121  

Нажмите на изображение для увеличения
Название: IMG_7517.jpg
Просмотров: 1782
Размер:	518.8 Кб
ID:	13122   Нажмите на изображение для увеличения
Название: IMG_7520.jpg
Просмотров: 1736
Размер:	417.4 Кб
ID:	13123  

Нажмите на изображение для увеличения
Название: IMG_7521.jpg
Просмотров: 1782
Размер:	527.1 Кб
ID:	13124  
Директор Луны вне форума   Вверх
Старый 17.12.2011, 17:34   #42
Директор Луны
Ушел в мир иной от нас...
 
Аватар для Директор Луны
 
Регистрация: 06.04.2008
Адрес: EMMA Ukraine
Возраст: 60
Сообщений: 9,976
Вы сказали Спасибо: 43
Поблагодарили 423 раз(а) в 130 сообщениях
Репутация: 1086
По умолчанию Re: "Незнайкины" поделки. Не в порядке хронологии.

Марафет: фальшпанель с подсветкой, аудиоаптечка (подарок из Алупки ), коврики парадно-выходные алькантарчатые....ну и прочее.
Миниатюры
Нажмите на изображение для увеличения
Название: DSC03427.jpg
Просмотров: 1705
Размер:	358.4 Кб
ID:	13125   Нажмите на изображение для увеличения
Название: DSC03446.jpg
Просмотров: 1671
Размер:	362.8 Кб
ID:	13126  

Нажмите на изображение для увеличения
Название: DSC03743.jpg
Просмотров: 1698
Размер:	269.4 Кб
ID:	13127   Нажмите на изображение для увеличения
Название: DSC03756.jpg
Просмотров: 1681
Размер:	267.5 Кб
ID:	13128  

Нажмите на изображение для увеличения
Название: DSC03778.jpg
Просмотров: 1747
Размер:	509.4 Кб
ID:	13129   Нажмите на изображение для увеличения
Название: DSC03764.jpg
Просмотров: 1669
Размер:	299.2 Кб
ID:	13130  

Нажмите на изображение для увеличения
Название: DSC03776.jpg
Просмотров: 1720
Размер:	440.0 Кб
ID:	13131   Нажмите на изображение для увеличения
Название: IMG_0868.JPG
Просмотров: 1729
Размер:	337.5 Кб
ID:	13132  

Нажмите на изображение для увеличения
Название: IMG_0867(1).jpg
Просмотров: 1757
Размер:	112.7 Кб
ID:	13133   Нажмите на изображение для увеличения
Название: DSC03195.jpg
Просмотров: 1702
Размер:	179.9 Кб
ID:	13134  

Нажмите на изображение для увеличения
Название: Изображение 037.jpg
Просмотров: 1712
Размер:	179.9 Кб
ID:	13135   Нажмите на изображение для увеличения
Название: Изображение 040.jpg
Просмотров: 1726
Размер:	219.5 Кб
ID:	13136  


Последний раз редактировалось Директор Луны; 17.12.2011 в 17:44.
Директор Луны вне форума   Вверх
Старый 17.12.2011, 17:35   #43
mad
 
Аватар для mad
 
Регистрация: 28.02.2009
Адрес: Симферополь
Возраст: 41
Сообщений: 526
Вы сказали Спасибо: 20
Поблагодарили 28 раз(а) в 20 сообщениях
Репутация: 44
По умолчанию Re: "Незнайкины" поделки. Не в порядке хронологии.

То есть защита от механических повреждений не учитывается??
mad вне форума   Вверх
Старый 17.12.2011, 17:42   #44
Директор Луны
Ушел в мир иной от нас...
 
Аватар для Директор Луны
 
Регистрация: 06.04.2008
Адрес: EMMA Ukraine
Возраст: 60
Сообщений: 9,976
Вы сказали Спасибо: 43
Поблагодарили 423 раз(а) в 130 сообщениях
Репутация: 1086
По умолчанию Re: "Незнайкины" поделки. Не в порядке хронологии.

Цитата:
Сообщение от mad Посмотреть сообщение
То есть защита от механических повреждений не учитывается??
"Смешались в кучу люди, кони...."
При чём здесь защита от механических повреждений и то что ты спрашивал раньше - про ткнуть в провод
Защита от механических повреждений - это пункт 4.2.4.
Который, кстати, в Новичках тоже не оценивается.
Директор Луны вне форума   Вверх
Старый 17.12.2011, 18:47   #45
molinero
 
Аватар для molinero
 
Регистрация: 12.11.2009
Адрес: Chernowitz
Возраст: 63
Сообщений: 519
Вы сказали Спасибо: 152
Поблагодарили 21 раз(а) в 17 сообщениях
Репутация: 134
Отправить сообщение для molinero с помощью Skype™
По умолчанию Re: "Незнайкины" поделки. Не в порядке хронологии.

Краса! Больше добавить нечего...
molinero вне форума   Вверх
Старый 17.12.2011, 21:04   #46
Саня-Танкист
 
Аватар для Саня-Танкист
 
Регистрация: 05.08.2010
Адрес: Житомир
Сообщений: 371
Вы сказали Спасибо: 32
Поблагодарили 9 раз(а) в 9 сообщениях
Репутация: 35
По умолчанию Re: "Незнайкины" поделки. Не в порядке хронологии.

Особенно понравилось положение пальцев правой руки на фото http://autozvuk.org/forum2/attachmen...0&d=1324077417
Типа - хрен вам!
Что за замазка здесь? http://autozvuk.org/forum2/attachmen...9&d=1324079223
Сделал проставки, хочу их герметизировать!
ТС - респект!
Саня-Танкист вне форума   Вверх
Старый 17.12.2011, 21:15   #47
Директор Луны
Ушел в мир иной от нас...
 
Аватар для Директор Луны
 
Регистрация: 06.04.2008
Адрес: EMMA Ukraine
Возраст: 60
Сообщений: 9,976
Вы сказали Спасибо: 43
Поблагодарили 423 раз(а) в 130 сообщениях
Репутация: 1086
По умолчанию Re: "Незнайкины" поделки. Не в порядке хронологии.

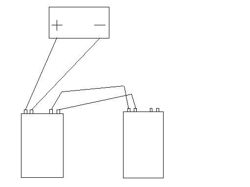
Поделка три:

Volvo S60 2.4T

Требования заказчика:
- мультики без потери качества звука
- сохранение багажника
- близкая к стоку инсталляция
- контроль напряжения бортовой сети

Сделано:
- переходная рамка с карманом под 1 Din
- плёнка под карбон
- установка вольтметра
- стоковые кроссы ДЛС переделаны под отдельные входы МВ и СЧ/ВЧ. Естественно, переделка выходов под 2,5 фронтальное усиление - отдельно МВ, отдельно СЧ/ВЧ.


Миниатюры
Нажмите на изображение для увеличения
Название: схема джипег.jpg
Просмотров: 1748
Размер:	152.6 Кб
ID:	13142   Нажмите на изображение для увеличения
Название: DSC04869.jpg
Просмотров: 1781
Размер:	530.8 Кб
ID:	13143  

Нажмите на изображение для увеличения
Название: DSC04874.jpg
Просмотров: 1749
Размер:	499.2 Кб
ID:	13144   Нажмите на изображение для увеличения
Название: DSC04876.jpg
Просмотров: 1771
Размер:	562.4 Кб
ID:	13145  

Нажмите на изображение для увеличения
Название: DSC04877.jpg
Просмотров: 1733
Размер:	511.4 Кб
ID:	13146   Нажмите на изображение для увеличения
Название: DSC04878.jpg
Просмотров: 1691
Размер:	507.6 Кб
ID:	13147  

Нажмите на изображение для увеличения
Название: DSC04880.jpg
Просмотров: 1703
Размер:	504.7 Кб
ID:	13148   Нажмите на изображение для увеличения
Название: DSC04881.jpg
Просмотров: 1724
Размер:	537.1 Кб
ID:	13149  

Нажмите на изображение для увеличения
Название: DSC04882.jpg
Просмотров: 1689
Размер:	537.4 Кб
ID:	13150   Нажмите на изображение для увеличения
Название: DSC04885.jpg
Просмотров: 1647
Размер:	517.3 Кб
ID:	13151  

Нажмите на изображение для увеличения
Название: DSC04888.jpg
Просмотров: 1654
Размер:	566.6 Кб
ID:	13152   Нажмите на изображение для увеличения
Название: DSC04892.jpg
Просмотров: 1733
Размер:	545.0 Кб
ID:	13153  

Нажмите на изображение для увеличения
Название: DSC04893.jpg
Просмотров: 1699
Размер:	560.4 Кб
ID:	13154   Нажмите на изображение для увеличения
Название: DSC04895.jpg
Просмотров: 1693
Размер:	540.2 Кб
ID:	13155  

Нажмите на изображение для увеличения
Название: DSC04896.jpg
Просмотров: 1652
Размер:	553.4 Кб
ID:	13156   Нажмите на изображение для увеличения
Название: DSC04900.jpg
Просмотров: 1705
Размер:	536.7 Кб
ID:	13157  

Директор Луны вне форума   Вверх
Старый 17.12.2011, 21:23   #48
Директор Луны
Ушел в мир иной от нас...
 
Аватар для Директор Луны
 
Регистрация: 06.04.2008
Адрес: EMMA Ukraine
Возраст: 60
Сообщений: 9,976
Вы сказали Спасибо: 43
Поблагодарили 423 раз(а) в 130 сообщениях
Репутация: 1086
По умолчанию Re: "Незнайкины" поделки. Не в порядке хронологии.

Цитата:
Сообщение от Саня-Танкист Посмотреть сообщение
Особенно понравилось положение пальцев правой руки на фото http://autozvuk.org/forum2/attachmen...0&d=1324077417
Типа - хрен вам!
Обычное положение пальцев

Цитата:
Сообщение от Саня-Танкист Посмотреть сообщение
Что за замазка здесь? http://autozvuk.org/forum2/attachmen...9&d=1324079223
В смысле - что за замазка. ЗЕЛЁНАЯ!!! Неужели не видно.
пс Какая-то автомобильная, Незнайка говорит - Номер 8
ппс Если серъёзно - завтра сфоткаем банку от шпакли.

Добавлено через 18 часов 26 минут
Цитата:
Сообщение от Саня-Танкист Посмотреть сообщение
Что за замазка здесь? http://autozvuk.org/forum2/attachmen...9&d=1324079223
http://www.autokraski.com.ua/katalog...erial/id78.htm

Последний раз редактировалось Директор Луны; 18.12.2011 в 15:50. Причина: Добавлено сообщение
Директор Луны вне форума   Вверх
Старый 18.12.2011, 16:03   #49
igorvolikov
Ушел в мир иной от нас...
 
Аватар для igorvolikov
 
Регистрация: 24.08.2008
Адрес: Донецк
Сообщений: 2,224
Вы сказали Спасибо: 208
Поблагодарили 223 раз(а) в 114 сообщениях
Репутация: 364
Отправить сообщение для igorvolikov с помощью Skype™
По умолчанию Re: "Незнайкины" поделки. Не в порядке хронологии.

Тю.
Да любая полиэфирная шпатлевка. Хоть Боди , хоть АПП, хоть Новол.
Бывает со стекловолокном - подходит для придания пущей конструкционной жесткости.
Бывает финишка без стекловолокна. Вполне подойдет для замазки , затирки и герметизации.
+ в том , что после ошкуривания финишки - чесатся не будеш , как после стекловаты
igorvolikov вне форума   Вверх
Старый 18.12.2011, 16:16   #50
Директор Луны
Ушел в мир иной от нас...
 
Аватар для Директор Луны
 
Регистрация: 06.04.2008
Адрес: EMMA Ukraine
Возраст: 60
Сообщений: 9,976
Вы сказали Спасибо: 43
Поблагодарили 423 раз(а) в 130 сообщениях
Репутация: 1086
По умолчанию Re: "Незнайкины" поделки. Не в порядке хронологии.

Цитата:
Сообщение от igorvolikov Посмотреть сообщение
Бывает финишка без стекловолокна.
Это не финишка. Зачем финишкой делать предварительное выравнивание? Финишка - это десерт, так сказать
Директор Луны вне форума   Вверх
Старый 18.12.2011, 16:29   #51
igorvolikov
Ушел в мир иной от нас...
 
Аватар для igorvolikov
 
Регистрация: 24.08.2008
Адрес: Донецк
Сообщений: 2,224
Вы сказали Спасибо: 208
Поблагодарили 223 раз(а) в 114 сообщениях
Репутация: 364
Отправить сообщение для igorvolikov с помощью Skype™
По умолчанию Re: "Незнайкины" поделки. Не в порядке хронологии.

Цитата:
Сообщение от Директор Луны Посмотреть сообщение
Это не финишка. Зачем финишкой делать предварительное выравнивание? Финишка - это десерт, так сказать
А у тебя она без стекловолокна ?
igorvolikov вне форума   Вверх
Старый 18.12.2011, 18:11   #52
Olddad
ЗЛЮЩИЙ АДМИН
 
Аватар для Olddad
 
Регистрация: 09.03.2007
Адрес: Киев
Возраст: 68
Сообщений: 5,776
Вы сказали Спасибо: 8
Поблагодарили 68 раз(а) в 41 сообщениях
Репутация: Olddad отключил(а) отображение уровня репутации
По умолчанию Re: "Незнайкины" поделки. Не в порядке хронологии.

Боря! К теме возвращайся. Пиарить свою желтенькую - создавай новую тему!
Предупреждаю!
Olddad вне форума   Вверх
Старый 18.12.2011, 18:19   #53
Директор Луны
Ушел в мир иной от нас...
 
Аватар для Директор Луны
 
Регистрация: 06.04.2008
Адрес: EMMA Ukraine
Возраст: 60
Сообщений: 9,976
Вы сказали Спасибо: 43
Поблагодарили 423 раз(а) в 130 сообщениях
Репутация: 1086
По умолчанию Re: "Незнайкины" поделки. Не в порядке хронологии.

Цитата
Сообщение от olddad Посмотреть сообщение
Боря! К теме возвращайся.
Саша!
Какие проблемы? ЧТО КОНКРЕТНО не соответствует ТЕМЕ??? Или Незнайка не имеет отношения к этой машине?

Цитата
Сообщение от olddad Посмотреть сообщение
Пиарить свою желтенькую - создавай новую тему!
Мне не надо пиариться - у меня всё в порядке.

Цитата
Сообщение от olddad Посмотреть сообщение
Предупреждаю!
О чём? Вытирай, думаю многие тебе спасибо скажут.

Добавлено через 40 минут
Маразм чистой воды!!!!!!!!!!
Удали вообще тему - я бы это сделал сам но у меня отключена эта функция.

Добавлено через 55 минут
УДАЛЯЙ ТЕМУ !!!
Я НЕ СОБИРАЮСЬ УЧАСТВОВАТЬ В ЭТОМ ЦИРКЕ ПОД НАЗВАНИЕМ "ТВОЙ" ФОРУМ !!!

Последний раз редактировалось Директор Луны; 18.12.2011 в 19:15. Причина: Добавлено сообщение
Директор Луны вне форума   Вверх
Старый 18.12.2011, 19:28   #54
GZ-JBL Team
Старейшина
 
Аватар для GZ-JBL Team
 
Регистрация: 18.07.2009
Адрес: Запорожье
Возраст: 40
Сообщений: 2,013
Вы сказали Спасибо: 51
Поблагодарили 139 раз(а) в 83 сообщениях
Репутация: 441
Cool Re: "Незнайкины" поделки. Не в порядке хронологии.

Цитата:
Сообщение от scvosniak Посмотреть сообщение
ИМХО
4AWG от аккума до дистрибьютора, а далее 3 уся (еще и 1500-й) - сопельки
не делай поспешных выводов!!!

в ибице моей жены на 2а уся по 2,5 кВт (JBL GTO 24001) было протянуто всего 2х25 кв.мм... один плюсик и один минусик... и от одного до друго уся было прокинуто такими же проводами..... НО провода были чисто медные Немецко\кетайские 25 квадрат..... так вот, к чему я клоню, при замере мощи и просадок разница на клемах акб под капотом (хавкер НХ300) и на 2м усе была всего 0,8 вольта в пике замера..... с каждого уся при этом было снято по 2-2,1 кВт домашний рез был (150,8) уси грузились в 2а ома каждый......на кубке в киеве рез приподняли...)))))
а добавка ещё 2х таких проводов уменьшилу разницу в просадке на 0,1-0,2 вольта........

так в спл требования к питанию гораздо выше чем в этих инсталах!


то Иваныч: респект за проделаные проекты! всё симпотично! пора и громкую машинку сделать! )))))
Миниатюры
Нажмите на изображение для увеличения
Название: 1111.JPG
Просмотров: 1637
Размер:	10.4 Кб
ID:	13197  
GZ-JBL Team вне форума   Вверх
Старый 18.12.2011, 19:33   #55
Директор Луны
Ушел в мир иной от нас...
 
Аватар для Директор Луны
 
Регистрация: 06.04.2008
Адрес: EMMA Ukraine
Возраст: 60
Сообщений: 9,976
Вы сказали Спасибо: 43
Поблагодарили 423 раз(а) в 130 сообщениях
Репутация: 1086
По умолчанию Re: "Незнайкины" поделки. Не в порядке хронологии.

Цитата
Сообщение от JBL Team Посмотреть сообщение
то Иваныч: респект за проделаные проекты! всё симпотично!
Кое кому - это как соль на рану
Похоже - тем, кому самим нечего показать хоть что-нибудь, не говоря уже о чём-то стОящем

АДМИНЫ!!! УДАЛЯЙТЕ ТЕМУ !!!
Я НЕ СОБИРАЮСЬ УЧАСТВОВАТЬ В ЭТОМ ЦИРКЕ ПОД НАЗВАНИЕМ "ваш" ФОРУМ !!!


Добавлено через 8 минут
ОБЪЯСНЕНИЙ ЧТО КОНКРЕТНО НАРУШЕНО В ТЕМЕ И ЗА ЧТО ВЫНЕСЕНО ПРЕДУПРЕЖДЕНИЕ - ТАК И НЕТ !!!!!!!!

УДАЛИТЕ ТЕМУ!!!!!!!!!!

Комментарий администратора
olddad:
2.17. Сообщения в которых основной текст содержит нестандартный размер и цвет шрифта. Также запрещено выделение текста красным цветом - это цвет модератора.

Последний раз редактировалось Olddad; 18.12.2011 в 19:46. Причина: Добавлено сообщение
Директор Луны вне форума   Вверх
Старый 18.12.2011, 19:44   #56
Olddad
ЗЛЮЩИЙ АДМИН
 
Аватар для Olddad
 
Регистрация: 09.03.2007
Адрес: Киев
Возраст: 68
Сообщений: 5,776
Вы сказали Спасибо: 8
Поблагодарили 68 раз(а) в 41 сообщениях
Репутация: Olddad отключил(а) отображение уровня репутации
По умолчанию Re: "Незнайкины" поделки. Не в порядке хронологии.

Я сейчас расплачусь....
Olddad вне форума   Вверх
Старый 18.12.2011, 20:29   #57
SOVA
Старейшина
 
Аватар для SOVA
 
Регистрация: 21.09.2007
Адрес: Киев
Возраст: 57
Сообщений: 1,446
Вы сказали Спасибо: 128
Поблагодарили 422 раз(а) в 191 сообщениях
Репутация: 628
По умолчанию Re: "Незнайкины" поделки. Не в порядке хронологии.

Цитата:
Сообщение от scvosniak Посмотреть сообщение
Считаю правильным тянуть отдельный силовой на каждый усь, особенно на сабовый... А в данном случае неудержался, так как один кабель 4ГА на 3 уся и один из них EOS AE-1500/// Это просто кощунство, хотя для кого-то стоящее...
Каждый может считать как хочет.
Есть кроме максимальной выходной мощности ещё и реальная. Иваныч считает так, значит на это есть причины, он существо ленивое, зазря делать ничего не станет. А тем более, если придётся переделывать.
SOVA вне форума   Вверх
Старый 18.12.2011, 20:36   #58
Serginio
 
Аватар для Serginio
 
Регистрация: 25.11.2010
Адрес: Sun-Frankivsk
Сообщений: 599
Вы сказали Спасибо: 88
Поблагодарили 39 раз(а) в 27 сообщениях
Репутация: 135
По умолчанию Re: "Незнайкины" поделки. Не в порядке хронологии.

Цитата:
Сообщение от scvosniak Посмотреть сообщение
Никаких выводов не делаю. Считаю правильным тянуть отдельный силовой на каждый усь, особенно на сабовый... А в данном случае неудержался, так как один кабель 4ГА на 3 уся и один из них EOS AE-1500/// Это просто кощунство, хотя для кого-то стоящее...

Все удаляюсь, скучно не о чем....
4 ga 105-125 A. Написали ж, що людина слухає систему спокійно, а навіть якщо й трохи навалить, то нічого не станеться, 100 А це багато, дуже багато.
P.s. я це зрозумів на вихідних, коли розбирав багажник, туди було затянуто 5 м проводу для живлення сабу 12"ФИ і 4 канальника уся. Це місцеві горе-інсталятори проклали мені, вгадай якої квадратури був той кабель? Невгадаєш, 10кв! (l=5m)
І нічого, грало, нирки-танцювали. Звичайно, собі я тепер зроблю-нормально, з запасом, але без фанатизму по 70кв.

Последний раз редактировалось Serginio; 18.12.2011 в 20:42.
Serginio вне форума   Вверх
Старый 19.12.2014, 18:09   #59
Агент ЦРУ
 
Аватар для Агент ЦРУ
 
Регистрация: 11.12.2009
Адрес: Washington
Сообщений: 454
Вы сказали Спасибо: 0
Поблагодарили 0 раз(а) в 0 сообщениях
Репутация: 4
По умолчанию Сообщение секретного агента.

Эта тема была перенесена из раздела Свои инсталляции SQ.

Перенес: olddad
Агент ЦРУ вне форума   Вверх
Закрытая тема


Здесь присутствуют: 2 (пользователей: 0 , гостей: 2)
 
Опции темы
Опции просмотра

Ваши права в разделе
Вы не можете создавать новые темы
Вы не можете отвечать в темах
Вы не можете прикреплять вложения
Вы не можете редактировать свои сообщения

BB коды Вкл.
Смайлы Вкл.
[IMG] код Вкл.
HTML код Выкл.

Быстрый переход

Похожие темы
Тема Автор Раздел Ответов Последнее сообщение
По поводу безграммотности, "олбанского языка" или "падонкафскаго юмара" на форуме.. Cobox О форуме 11 28.11.2012 14:11
(клеммы, разветвители, коннекторы) Клемы "-" Autofun BT-622N \\\\ "+" E.O.S. BC-391 Vacik Аксессуары, кроссоверы и прочее... 5 03.10.2012 20:50
Где грань между "барахолкой" и "рекламой"? muztank О форуме 16 07.12.2009 17:54
две "десятки" в "десятку".короб??? JOCKER Практика по SQ 6 25.04.2009 01:22
CD диск "Stereo&Video" с "1812 год" Kosiat Практика по SQ 2 20.03.2007 11:49


Текущее время: 10:00. Часовой пояс GMT +2.


Перевод: zCarot
autozvuk.org ©